Именно для решения таких задач предназначена линейка источников питания Sinvel, в которой вы найдёте не только собственно источники питания 24В DC, но и модули резервирования, модули ИБП и буферные модули. Давайте разберёмся, зачем всё это нужно и как правильно это использовать.
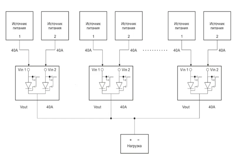
Отказоустойчивая система начинается с использования качественных источников питания, обладающих набором необходимых защит, регулировок и контролем состояния. Блоки питания с помощью модулей резервирования (они же модули диодной развязки) объединяются в параллель. Ресурс данных блоков питания при этом повышается за счет распределения нагрузки между ними поровну. В случае отказа одного из них или отключении питающей его линии вся нагрузка ложится на второй блок питания. Для полного резервирования в случае отключении обоих линий используется модуль ИБП, который переключает питание нагрузки от сети на питание от батареи. Для резервирования при кратковременных перебоях питания используются буферные модули. Пример такой отказоустойчивой системы приведен на рисунке 1.

Рисунок 1. Пример отказоустойчивой системы питания
Теперь рассмотрим каждый тип оборудования подробнее на примере оборудования Sinvel
Импульсные источники питания Sinvel серий SDL/SDN/SDH
Серии блоков питания от Sinvel представлены тремя линейками: SDL мощностью от 24-96 Вт в пластиковом корпусе; SDN мощностью от 120-480 Вт в металлическом корпусе и SDH мощностью 960 Вт в металлическом корпусе. Все источники питания Sinvel эргономичны, что обеспечивает экономию пространства при монтаже, обладают высоким КПД, имеют встроенные защиты от короткого замыкания, перегрузки и перенапряжения.

Рис. 2 Внешний вид источников питания Sinvel серий SDL и SDN
Источники питания Sinvel имеют широкий диапазон входного напряжения: 90-264В AC и 127-370В DC для серий SDL и SDN, 180-264В AC и 254-370В DC у серии SDH.
У источников всех серий (SDL, SDN и SDH) выходное напряжение равно 24В DC, что является стандартом в автоматизации на сегодняшний день. У всех серий имеется возможностью регулировки уровня выходного напряжения +/-10% с помощью потенциометра, расположенного на передней панели корпуса, что позволяет компенсировать падение напряжения в проводах между источником питания и нагрузкой, если их длина значительна.
Кроме потенциометра, на лицевой панели блоков питания Sinvel расположен светодиод «DC OK», который указывает на наличие напряжения на выходе устройства. Модели серий SDL и SDH так же оснащены контактами состояния «DC OK», позволяющими организовать дистанционный мониторинг или управление внешними устройствами. Блоки питания SDH можно объединять в параллельную работу без использования модулей резервирования до 8 штук.
Модули резервирования Sinvel SDR
Модули резервирования Sinvel SDR позволяют подключать на одну нагрузку неограниченное число источников питания по схеме N+1 (рис.5). Наиболее популярным решением является объединение двух источников питания в параллель, то есть включение по схеме 1+1 (рис.4).

Рис.3 Внешний вид модуля резервирования Sinvel SDR
Каждый модуль имеет два входа для подключения источников питания напряжением 24В DC и один выход для нагрузки. Модули оснащены схемой контроля и сигнализации, которая постоянно отслеживает работоспособность каждого блока питания. В случае обнаружения неисправности модуль отключает неисправный источник и передаёт сигнал о его состоянии по внешним линиям связи с помощью контактов реле, выведенных на разъем модуля резервирования. Вся нагрузка переключается на питание от исправного блока питания.

Рис.4 Включение по схеме резервирования 1+1

Рис.5 Включение по схеме резервирования 1+N для повышения надежности
Модули ИБП Sinvel SDU
Модули ИБП Sinvel SDU предназначены для бесперебойного питания нагрузки в случае прекращения подачи электроэнергии от основного источника.
Модули SDU предлагаются в двух вариантах исполнения – с выходным током 20 и 40 А.
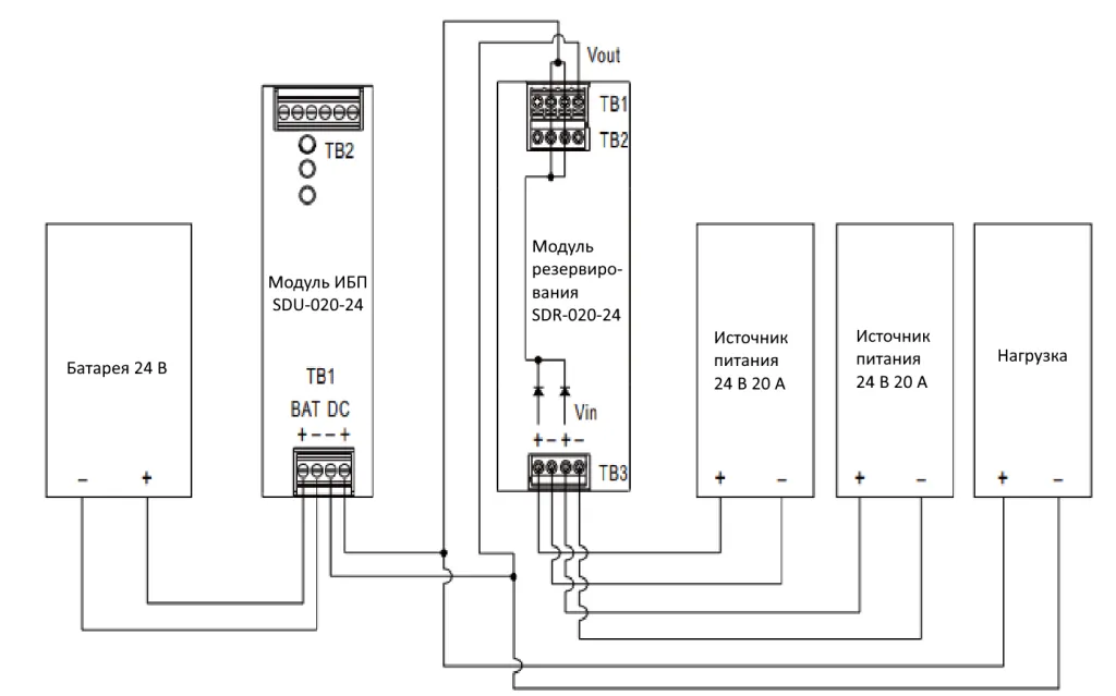
Когда питание нагрузки осуществляется от источника питания, модуль ИБП отслеживает напряжение на выходе, контролирует уровень заряда аккумуляторной батареи и её состояние. Если по каким-либо причинам питание от блока питания прекратилось, ИБП начинает питать нагрузку от подключенных батарей (рис.7.) Модули SDU предназначены для работы со свинцово-кислотными аккумуляторными батареями ёмкостью от 4 до 135 А∙ч, ток зарядки составляет 2А (для создания на выходе напряжения 24В необходимо две АКБ с напряжением 12В).

Рис. 6 Внешний вид модуля ИБП Sinvel SDU
На лицевой панели модуля ИБП Sinvel SDU (рис.6) расположены светодиоды:
-
“BAT Fail” – сигнализирует о том, что батарея неисправна, и ее пора менять;
-
“BAT Discharge” – сигнализирует о том, что батарея разряжена до критического уровня и система больше не может поддерживать питание нагрузки в отсутствие внешнего питания от сети;
-
“DC OK” – сигнализирует о состоянии выходного напряжения.
Все три сигнала могут передаваться по внешним линиям связи с помощью контактов реле, которые выведены на отдельный разъем.

Рис. 7 Схема подключения модуля ИБП Sinvel SDU
Для повышения надежности и отказоустойчивости возможно совместное использование модулей резервирования и модулей ИБП (рис. 8). В случае выхода из строя одного из блоков питания, модуль резервирования всю нагрузку переключит на второй блок питания. А в случае полного отключения модуль ИБП начнет питать нагрузку от батарей.

Рис. 8. Совместное использование модулей ИБП Sinvel SDU и модулей ИБП Sinvel SDR
Буферные модули Sinvel SDB
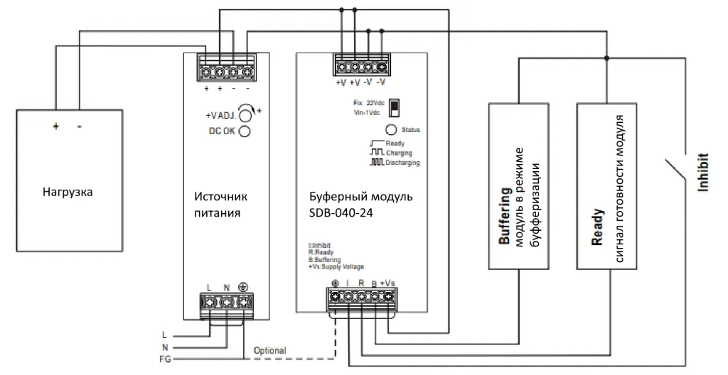
Модули Sinvel SDB предназначены для кратковременного поддержания питания нагрузки, например, в моменты переключений питания нагрузки от блоков питания на питание от батарей.

Рис.9. Внешний вид буферного модуля Sinvel SDB
В ходе нормальной работы буферный модуль SDB накапливают энергию во встроенных необслуживаемых конденсаторах и отдаёт ее во время перебоев в питании. Время буферизации незначительно, поэтому данное решение применяют в случаях, когда необходимо обеспечить непрерывное электропитание на короткое время, например, при провалах напряжения в первичной сети, на время работы АВР, в частности модуля резервирования SDR и модуля ИБП SDU. Так время буферизации для SDB-020-24 составляет:
250 мс (минимальное) / 350 мс (типовое), а для SDB-040-24 160 мс (минимальное) / 250 мс (типовое)
На передней панели размещен сигнализирующий состояние буферного модуля и переключатель, регулирующий пороговую величину перехода в буферный режим.
Для подключения обычно применяют две схемы:
-
Схема с питанием сигнальных цепей от основного источника (рис.10)
-
Схема с питанием сигнальных цепей от внешнего источника (рис.11)
Из-за того, что время буферизации мало, при питании сигнальных цепей от того же источника, что и основная нагрузка, внешние сигналы, индицирующие состояние модуля, просуществуют недолго, поэтому мы рекомендуем второй вариант.
Рис.10 Схема подключения буферного модуля SDB с питанием сигнальных цепей от основного источника

Рис.11 Схема подключения буферного модуля SDB с питанием сигнальных цепей от внешнего источника
Буферные модули также можно подключать в параллель для увеличения времени резервирования (рис.12)

Рис.12 Схема подключения буферных модулей SDB в параллель
Если вы внимательно изучили схему и состав отказоустойчивой системы, приведенный выше, то вы наверняка обратили внимание, что мы не рассказали еще об одном типе устройств – автоматическом выключателе. Сейчас данный продукт проходит испытания и мы обязательно расскажем о нем подробно, когда он появится в ассортименте Sinvel.